
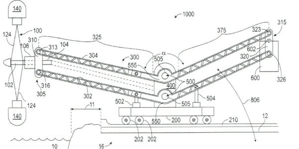
HK ERA’s technology takes NTR HK energy to the next level in its patented scalable design (2.1MW - 5.0MW) that incorporates flexibility in its riverfront interface.
Click below for most recent edition of the White Paper.

HK ERA's NTR HK energy capture design received a Non-Provisional U.S. patent in January 2023 (6 months after application) and in the same year received a Favorable International Patent designation.
Investment and development are in early stages, offering plentiful opportunities.
Copyright © 2024 HK ERA - All Rights Reserved.
Powered by GoDaddy